|
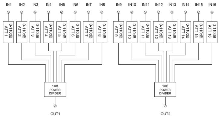
Radio Rack 16x2-16 is a 16x2 attenuation matrix containing two independent 8x1 sub- systems.
|
||
|
|||
Applications:
Radio Rack 16x2-16 includes two independent 8x1 bidirectional attenuation sub- systems. Each sub-system can control 8 independent RF attenuation input chan- nels and combined at one output. Users can easily simulate path loss on each channel or simulate the mobility scenarios between the sectors with usage of power combiners. The instrument supports all the major wireless technologies in- cluding CDMA/EVDO/GSM/UMTS/HSPA/LTE/WiMAX.
Features:
Each individual attenuator can be controlled manually from the front panel, by Ra- dio Rack’s or customer own applications through RS232, or Ethernet with API com- mands.
The system supports sweeping functions for 0-110 dB attenuation values for each individual channel.
|
|||







